產品描述
注冊信息
產品詳情請聯系上海聚慕,聯系 方式:1-8-9-0-1-9-1-2-7-5-5 (羅)
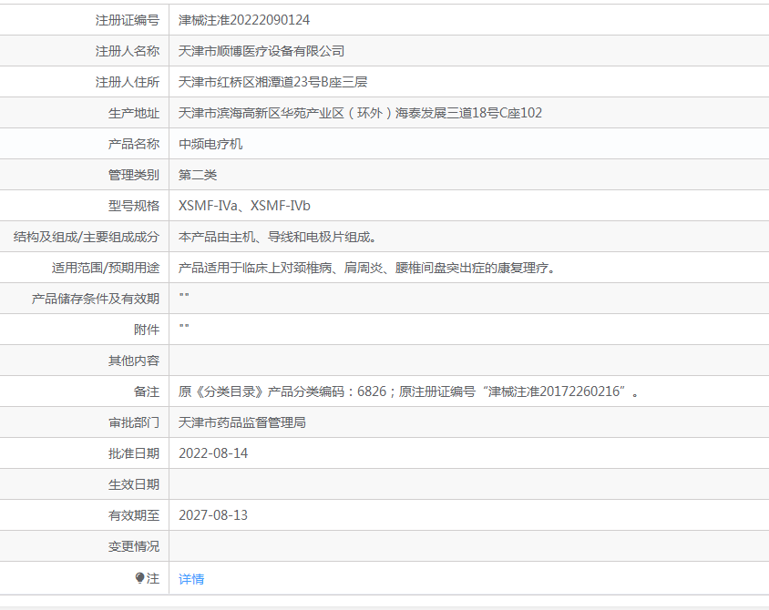
產品名稱
中頻電療機
管理類別
第二類
型號規格
XSMF-I、XSMF-II、XSMF-III、XSMF-IVa、XSMF-IVb
結構及組成/主要組成成分
本產品由主機、導線和電極片組成。
適用范圍/預期用途
產品適用于臨床上對頸椎病、肩周炎、腰椎間盤突出癥的康復理療。
產品詳情請聯系上海聚慕,聯系 方式:1-8-9-0-1-9-1-2-7-5-5 (羅)

 全部商品分類
全部商品分類
					
急救箱患者輸液輸血升溫儀呼吸機血氧飽和度測定儀除顫監護儀心肺復蘇機鎮痛泵洗胃機霧化器急救頭頸,脊椎,身體固定板神經叢刺激器排痰機急救轉運擔架注射器呼末二氧化碳儀監測儀制氧機急救轉運呼吸機注射泵,輸液泵呼吸面罩止血器,止血帶新生兒專用呼吸機嬰兒藍光培養箱負壓吸引器麻醉機公共場所AED除顫儀

生物共振儀,過敏原治療儀動脈硬化檢測儀血流分析儀血糖儀免疫分析系統生化分析儀混勻儀病毒載量檢測系統細胞培養分析儀實驗室儀器精子分析儀液基薄層細胞(TCT)檢測系統低溫冰箱尿液分析儀血液血球分析儀血紅蛋白分析儀電解質分析儀微量元素檢測儀血乳酸分析儀離心機二氧化碳培養箱酶標儀,洗板機移液器生物安全柜血氣分析儀新生兒黃疸檢測儀,黃疸治療儀

臭氧治療儀腦電圖機超聲腦血管治療儀空氣波治療儀低溫保存箱超短波治療儀分娩治療儀皮膚治療儀肛腸檢查及治療儀電刺激治療儀多功能牽引治療床微波治療儀康復功能訓練設備電磁治療儀紅外,光波治療儀低,中頻治療儀低脈沖超聲治療儀術后盆底康復治療儀

毫米波治療儀體溫計中耳分析儀排痰機動態心電檢測儀臨時體外心臟起搏器胎心儀眼震電圖儀經顱多普勒分析儀身高體重分析儀檢查頭燈糖尿病篩查儀便攜及壁掛式全科診斷系統睡眠呼吸監測儀耳溫槍動態血壓監測儀家用及醫用全自動電子血壓計超聲及X射線骨密度儀血流量、容量測定裝置肺功能儀人體成分分析儀體外沖擊波碎石儀聽診器視力篩查儀聽力計病人監護儀,母嬰監護儀,生命體征監測儀心電圖機聽力篩查儀

誘發電位儀驗光臺內窺鏡手術輔助儀器檢影鏡視野計角膜測厚儀眼底鏡綜合驗光臺耳鼻喉輔助儀器眼科設備配件光學相干斷層掃描儀成像儀曲率儀眼科分光器對比敏感度儀色覺檢查儀散射光計量儀生物測量儀投影儀膀胱鏡可視喉鏡光纖喉鏡內窺鏡醫用手術顯微鏡眼科激光眼科專用AB超角膜地形圖儀視力表燈箱眼底照相機纖維支氣管鏡接觸及非接觸式眼壓計裂隙燈全自動驗光儀檢耳鏡顯微鏡檢眼鏡焦度計磨邊機醫用胃腸鏡

高壓注射器中心靜脈導管醫用X光機醫用膠片便攜式彩色超聲診斷儀臺式彩色超聲診斷儀銀質針導熱巡檢儀防護服,防護屏風PTC穿刺針神經麻醉穿刺針組織活檢針導管引流穿刺針半自動、全自動活檢槍骨髓活檢穿刺針乳腺定位針

光固化機牙科手術器械超聲波清洗機口腔燈牙科綜合治療機口腔耗材脫毛美容儀體脂美容儀牙科注射器具牙科專用暗箱渦輪機牙科多功能移動小推車綜合動力系統牙齒矯正工具及材料打磨機牙鉆機口腔模型口腔抽吸機口腔麻醉儀口腔綜合治療臺醫用牙科手機及配套設備醫用潔牙機根管長度測量儀口腔種植機牙周根管治療儀牙科治療椅熱牙膠充填機

醫用電極滅菌指示劑醫用消毒液,多酶清洗液醫用縫合線彈力繃帶皮膚護理套件快速高溫,環氧乙烷,低溫生物閱讀器透氣膠貼,吻合貼,傷口敷貼滅菌測試包,挑戰包滅菌爬行卡滅菌膠帶透明及傷口敷料抗菌手術薄膜醫用換藥包敷料、護創材料

卡氏滅菌器ATP熒光檢測儀空氣消毒機紫外線殺菌器除濕機高溫高壓滅菌器封口機生物閱讀器環氧乙烷滅菌器超聲波清洗消毒器清洗設備及耗材低溫等離子滅菌器

醫學虛擬技能訓練模型病理切片機病理攤片機病理包埋機病理脫水機醫用病理細胞制片機診斷訓練模型護理訓練模型急救專業訓練模型婦產科訓練模型人體解剖模型



 
        
產品描述
注冊信息
產品詳情請聯系上海聚慕,聯系 方式:1-8-9-0-1-9-1-2-7-5-5 (羅)
產品名稱
中頻電療機
管理類別
第二類
型號規格
XSMF-I、XSMF-II、XSMF-III、XSMF-IVa、XSMF-IVb
結構及組成/主要組成成分
本產品由主機、導線和電極片組成。
適用范圍/預期用途
產品適用于臨床上對頸椎病、肩周炎、腰椎間盤突出癥的康復理療。
產品詳情請聯系上海聚慕,聯系 方式:1-8-9-0-1-9-1-2-7-5-5 (羅)

尊敬的客戶您好:上海聚慕醫療做為其它的廠家合作伙伴,可靠的提供xsmf-iva中頻電療機技術選型,您可以了解xsmf-iva中頻電療機的詳細介紹,配置,如需了解xsmf-iva中頻電療機招標授權及產品詳細技術參數,彩頁及使用方法,可通過致電聚慕醫療全國熱線電話400-901-5099向我們的產品經理咨詢。
聚慕醫療擁有專業的售后團隊,提供其它產品延保及上門培訓,維修,在您擁有xsmf-iva中頻電療機的優質性能同時,也能享受專業無憂的售后服務。
友情提示聚慕醫療承諾無論您在上海、北京、廣州、深圳、廈門、武漢、重慶、杭州、蘇州、江蘇、廣東、浙江、山東、湖北、四川、安徽、新疆、西藏還是大連、沈陽、長春、哈爾濱、青島、西安、鄭州、合肥、蘭州、太原、長沙、株洲、福州、無錫、昆山、揚州、常州、寧波、貴州、呼和浩特、鄂爾多斯、吉林、云南、大慶、鞍山、合肥、宿州、拉薩、等地,均可提供xsmf-iva中頻電療機的物流代收貨款及快遞派送上門送件 。更多需求請您致電全國免費咨詢熱線:400-901-5099
?本公司全力支持關于《中華人民共和國廣告法》實施的“極限 化違禁詞”相關規定,且已竭力規避使用相關“違禁詞”等極限化詞匯。如果還有“極限化”違禁詞用在本公司網頁,本公司申明全部失效。所有訪問本公司網頁的人員均表示默認此條約,不支持任何發來“違禁詞”為借口或理由投訴我公司 違反《中華人民共和國廣告法》或《新廣告法》來變相勒索索要 賠償的違法惡意行為!如有疑問請及時聯系本公司進行更改,感謝你的配合和支持,謝謝!
售后服務1、產品質量問題,在產品售出7天內因產品有明顯瑕疵的且產品未有損壞的,聚慕醫療負責免費換貨;
2、產品標配售后服務質保期:1年質保,如需延保服務請致電400-901-5099;
3、質保期內如有產品質量問題,免費維修或更換,質保期外長期提供技術支持,如需上門或更換配件,酌情收取基本配件費及差旅費;4、所有產品售后問題,請直接聯系我司全國免費咨詢熱線:400-901-5099,我司售后服務團隊會在1~3個工作日內響應處理。
