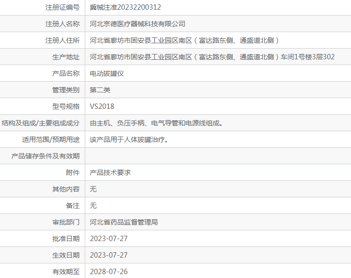
結構及組成/主要組成成分 由主機、負壓手柄、電氣導管和電源線組成。 適用范圍/預期用途 該產品用于人體拔罐治療。
對(ADSS電動拔罐儀VS2018)詢價,索取(ADSS電動拔罐儀VS2018)彩頁,(ADSS電動拔罐儀VS2018)需要維修,需要授權,請聯系我們總部客服轉接:400-901-5099
溫馨提示:1.ADSS電動拔罐儀VS2018可能含有禁忌內容或者注意事項,具體詳見說明書;2.購買ADSS電動拔罐儀VS2018后應仔細閱讀ADSS電動拔罐儀VS2018說明書或者在醫務人員的指導下購買和使用;3.以上ADSS電動拔罐儀VS2018內容均來自于生產廠***、代理商網站不作為宣傳購買依據如與ADSS電動拔罐儀VS2018說明書有沖突的,均以ADSS電動拔罐儀VS2018說明書為準;
以下為公司資質:

歡迎語尊敬的客戶您好:上海聚慕醫療做為中國國產的廠家合作伙伴,可靠的提供adss電動拔罐儀vs2018技術選型,您可以了解adss電動拔罐儀vs2018的詳細介紹,配置,如需了解adss電動拔罐儀vs2018招標授權及產品詳細技術參數,彩頁及使用方法,可通過致電聚慕醫療全國熱線電話400-901-5099向我們的產品經理咨詢。
聚慕醫療擁有專業的售后團隊,提供中國國產產品延保及上門培訓,維修,在您擁有adss電動拔罐儀vs2018的優質性能同時,也能享受專業無憂的售后服務。
友情提示聚慕醫療承諾無論您在上海、北京、廣州、深圳、廈門、武漢、重慶、杭州、蘇州、江蘇、廣東、浙江、山東、湖北、四川、安徽、新疆、西藏還是大連、沈陽、長春、哈爾濱、青島、西安、鄭州、合肥、蘭州、太原、長沙、株洲、福州、無錫、昆山、揚州、常州、寧波、貴州、呼和浩特、鄂爾多斯、吉林、云南、大慶、鞍山、合肥、宿州、拉薩、等地,均可提供adss電動拔罐儀vs2018的物流代收貨款及快遞派送上門送件 。更多需求請您致電全國免費咨詢熱線:400-901-5099
?本公司全力支持關于《中華人民共和國廣告法》實施的“極限 化違禁詞”相關規定,且已竭力規避使用相關“違禁詞”等極限化詞匯。如果還有“極限化”違禁詞用在本公司網頁,本公司申明全部失效。所有訪問本公司網頁的人員均表示默認此條約,不支持任何發來“違禁詞”為借口或理由投訴我公司 違反《中華人民共和國廣告法》或《新廣告法》來變相勒索索要 賠償的違法惡意行為!如有疑問請及時聯系本公司進行更改,感謝你的配合和支持,謝謝!
售后服務1、產品質量問題,在產品售出7天內因產品有明顯瑕疵的且產品未有損壞的,聚慕醫療負責免費換貨;
2、產品標配售后服務質保期:1年質保,如需延保服務請致電400-901-5099;
3、質保期內如有產品質量問題,免費維修或更換,質保期外長期提供技術支持,如需上門或更換配件,酌情收取基本配件費及差旅費;4、所有產品售后問題,請直接聯系我司全國免費咨詢熱線:400-901-5099,我司售后服務團隊會在1~3個工作日內響應處理。